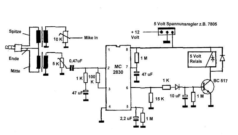
Vox Schaltung
Die Voxschaltung hier ist auf einen MC2830 aufbauend.
Artikel
über das Tasten von CB Funk Geräte auch mit dieser VOX.
Artikel über PR mit WixW um die VOX für CB
einzusetzen.

Die Schaltung ist von
http://hausamhang.de/APRS/willkommen_frame.htm entliehen und entsprechend
erweitert.
Ein Relais ist erforderlich da für die meisten CB Funk Geräte auch bei RX ein
Kontakt erforderlich ist. Ich verwende einen Kanal der Soundkarte für die
Schaltung und den anderen dann für die Mike NF. Die Mike NF lasse ich auch über
einen 1:1 Übertrager laufen. Die Übertrager könnte man e.v. sparen, allerdings
zeigte sich das nur mit diesem Fehlauslösungen der Vox vermeidbar waren.
Außerdem sollten alles ordentlich abgeschirmt sein und an allen Eingänge mittels
eines kleinen Cs HF kurz geschlossen werden.
Alle PC Massen sollten von den Schaltungsmassen getrennt bleiben.
Bei Mic Out (Pin 3) steht im übrigen auch ein NF Signal an, welches jedoch nicht
über den internen Mikeverstärker und ALC läuft. Hier könnte man e.v. auch ein
wenig experimentieren.
Eine Platine:
Da ich wegen einem anderen Projekt begann, mich mit der Platinenherstellung zu beschäftigen, wurde nun für die VOX Schaltung ein Platinenlayout erstellt. Ich habe allerdings kein Eagle Projekt oder ähnliches sondern nur ein JPG das beim Drucken e.v. nicht die richtige Größe hat.
Das einzige Problem ist der Übertrager für die NF, ich hatte hier einen entsprechend kleinen vorhanden, allerdings sind neue deutlich größer und passen nur schwer auf die Platine. Ansonsten sieht man, glaube ich, dass so eine nette kleine Schaltung zusammenkommt. Sicher könnte sie noch kleiner gemacht werden, aber dann wird es beim löten recht eng.

Platinenlayout
Bestückung:
Für den 2830 habe ich einen Sockel aufgelötet. Alle anderen Bauteile werden nacheinander eingelötet. Für die Anschlüsse habe ich Lötstifte verwendet. Für das Relais könnte e.v. auch ein Sockel verwendet werden was einen späteren Austausch einfacher machen würde, dabei habe ich dann die nicht benötigten Pins zugelötet, so kann dann das Relais auch nicht falsch herum eingesetzt werden.
Für die NF Zuleitung bitte abgeschirmtes Kabel verwenden.
Hier nun der Bestückungsplan:

(C)opyright by DC3RJ, Juergen Riemann.
Kopien auch auszugsweiße nur nach Absprache und mit Quellennachweiß möglich.
Haftungsbeschränkung. Der Autor kann nicht für eventuelle Schäden, gleich
welcher Art, die durch diese Anleitung entstehen, haftbar gemacht werden, es sei
denn, der Autor hätten vorsätzlich gehandelt.